Aisladores de señal
MARCA: PYRAGON
MODELO: CONSULTAR SEGÚN APLICACIÓN
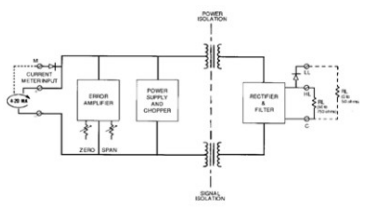
Solves Ground Loop Problems
Input Loop Powered Isolator
No Separate Power required
Lowest input voltage drop in the industry
4-20mADC input and output
MARCA: PYRAGON
MODELO: CONSULTAR SEGÚN APLICACIÓN
Solves Ground Loop Problems
Input Loop Powered Isolator
No Separate Power required
Lowest input voltage drop in the industry
4-20mADC input and output